Актриса Хеди Ламарр — чудо‑женщина и чудо‑изобретатель
Материал любезно предоставлен Tablet
Если уж говорить о кино, то еврейская чудо‑женщина — вовсе не Галь Гадот , при всем уважении, а Хедвиг Кислер (1914–2000), которая появилась на свет в Вене и родилась заново в Голливуде как Хеди Ламарр.
Впечатляющий документальный фильм Александры Дин «Бомба: история Хеди Ламарр» (Bombshell: The Hedy Lamarr Story) и биографии Рут Бартон и Ричарда Роудса подробно рассказывают, что Ламарр была не только первой красавицей Голливуда — легендой, прообразом диснеевской Белоснежки, Женщины‑кошки Боба Кейна , причиной, по которой кинозвезда Джоан Беннетт перекрасилась из блондинки в брюнетку, героиней самого раннего из известных набросков Энди Уорхола — но, пожалуй, самым острым умом киноиндустрии, причем как среди женщин, так и мужчин.

Днем, на съемках «Девушек Зигфилда» на киностудии MGM, она щеголяла в драгоценностях и плюмажах. Вечером возвращалась к тайной — или, скорее, настоящей — жизни изобретателя‑любителя: Хеди с коллегой, авангардным композитором Джорджем Антейлом, трудилась над радиоуправляемым устройством, работающим в режиме скачкообразного изменения частоты, — предшественником технологий современной беспроводной связи.
Еврейская жизнь Ламарр была вовсе не заурядной. Хедвиг Кислер росла единственным ребенком в богатой еврейской семье, обитавшей в Деблинге, престижном районе на северо‑западе Вены, где жило много евреев. Отец Хедвиг управлял банком, мать была подающей надежды пианисткой (она перешла в католичество). Выдающийся архитектор и театральный художник Фредерик Кислер — двоюродный дядя Хедвиг. Она училась в преимущественно еврейской средней школе (той же, что и дочери Зигмунда Фрейда).
Поражавшая своей красотой — благословение или проклятие? — Хеди взяла два вторых имени, Ева‑Мария, бросила школу и в 16 лет стала актрисой. С детства отчаянная и своенравная, в 18 лет Хеди прогремела на весь мир — снялась в «Экстазе» чешского режиссера Густава Махаты (1933), где купалась обнаженной и имитировала оргазм. Художественные достоинства фильма явно перевешивали его скандальную славу, однако же, как пишут авторы «Бомбы», его везде подвергали цензуре, а в нацистской Германии запретили вовсе, поскольку Хеди — еврейка. Правда, запрет продлился недолго, из фильма вырезали отдельные сцены и выпустили под названием «Симфония любви», копии оригинального монтажа сохранились у Геббельса и Геринга, а если кому и запретили работать на нацистов, то Махаты — выяснилось, что у него еврейские корни.
Вернувшись в Вену, Хеди играла в оперетте «Сисси» Елизавету Баварскую, будущую невесту австрийского императора Франца Иосифа I. (Через 20 лет эта роль прославит другую юную актрису, Роми Шнайдер.) Благодаря «Сисси» Хеди вышла замуж за миллионера Фрица Мандля, оружейного фабриканта, который, несмотря на свое еврейское происхождение, продавал оружие нацистам. Бракосочетание прошло по католическому обряду, брак выдался бурным. Хеди с третьей попытки сбежала от Мандля и из Австрии — за год до аншлюса . Ненадолго перебралась в Лондон, где привлекла внимание Луиса Б. Майера , и в 22 года очутилась в Америке, не зная английского, но с новой фамилией и контрактом с MGM.
В Голливуде Ламарр в основном предлагали роли загадочных «чужестранок»: Бартон называет таких персонажей «экзотичными дамочками». Кого только она ни играла — и оторву в «Алжире» (1938) и «Шумном городе» (1940), и рьяную советскую красавицу‑коммунистку в «Товарище Х» (1940), топорной эксцентричной комедии Кинга Видора, и европейскую беженку в «Поживи у меня»8 (1941), и даже представительниц смешанной расы, как в «Леди из тропиков» (1939) и, самое забавное, в «Белом грузе» (1942), в котором, по словам кинокритика газеты New York Times Босли Краузера, ее «покрасили в цвет красного дерева» для роли «роковой» туземки Тонделайо.
Невероятная, незабываемая красота Ламарр отчасти оправдывает массу банальных фильмов, в которых она преимущественно снималась до и во время Второй мировой войны. Но на уме у нее было совсем другое. Девочка, в пять лет разобравшая и снова собравшая музыкальную шкатулку, молодая женщина, за ужином молча слушавшая разговоры (и запоминавшая все до мелочей, какими бы скучными они ни казались) мужа с коллегами о новшествах оружейного производства, Ламарр обладала тем, что можно назвать техническим гением.
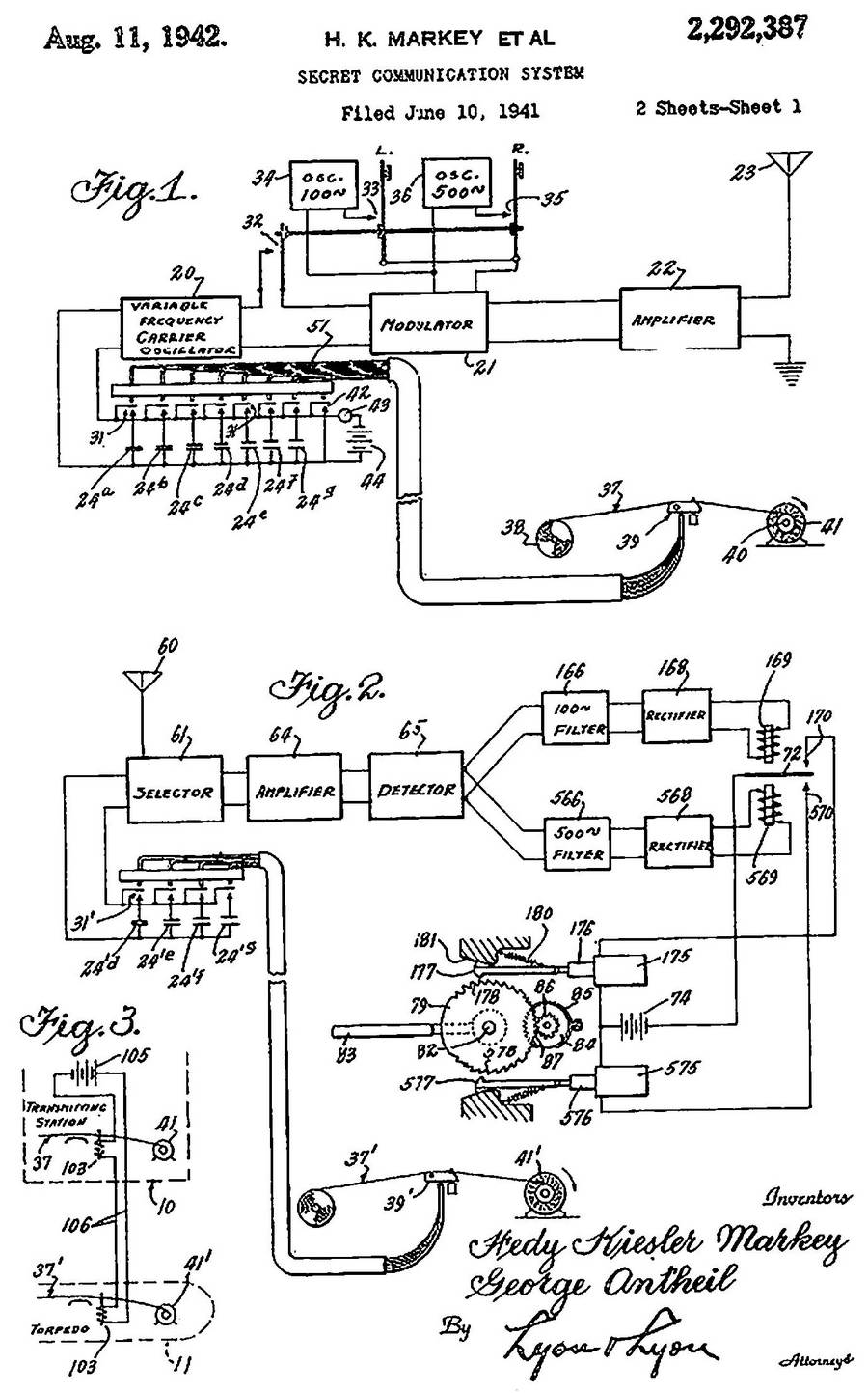
Она любила изобретать (из всех мужчин в ее жизни это хобби оценил по достоинству разве что Говард Хьюз), и когда в Европе разразилась война, Хеди решила придумать нечто такое, что поможет победить нацистов. Совместно с Антейлом Ламарр — ей в ту пору было 26 лет — разработала чертежи радиоуправляемой торпеды, способной менять частоту, чтобы ее не засекли и не повредили силы противника. (Идея скачкообразного изменения частот появилась отчасти благодаря попытке Антейла синхронизировать механические пианино, а вот сведения о боевой технике исходили от Хеди.)
В конце 1940 года они отправили чертежи в Национальный совет изобретателей, в 1941‑м подали заявку на патент. В том же году об их проекте управляемой торпеды узнали в ВМС США, но отклонили его как слишком сложный — хотя патентное ведомство выдало два патента на «Систему секретной связи» Антейла–Ламарр. Военные получили патенты, но не использовали их до 1960‑го, когда срок их действия завершился: на основе этих проектов разработали похожую технологию широкополосного радиосигнала с размытым спектром частот, которая в дальнейшем привела к созданию беспроводной связи, разведывательных беспилотных летательных аппаратов, спутниковой связи, системы спутниковой навигации и беспроводных телефонов.

Ламарр и Антейл не заработали на своем изобретении ни цента.
Самой известной голливудской ролью Ламарр стала ветхозаветная злодейка в невероятно популярной картине Сесила де Милля «Самсон и Далила» (1949), с успехом возродившей былой культ зрелищ, секса и ханжества, который де Милль совершенствовал с 1920‑х. Стройная и пылкая Ламарр (ей тогда было 35 лет) с парадоксальной убедительностью сыграла главную библейскую злодейку — одна из немногих ее достойных ролей. Она не только понимала, что получила лучшую в жизни роль, но и, поскольку происходила из семьи венских буржуа высшего круга и о психоанализе знала не понаслышке, могла оценить и отчаянный садомазохизм любовной линии, и ее трагизм.
Будь Ламарр лучшей актрисой, ее карьера, возможно, сложилась бы, как у шведки Ингрид Бергман. Кстати, Ламарр пробовалась на роль в «Касабланке», а Бергман — в «Алжире». В каком‑то смысле Хеди оказалась сама себе Далилой: ее удивительная красота затмила ее актерские данные. Не столько талантливая, сколько харизматичная, Ламарр пленяла красотой — и оказалась в плену. В хвалебной статье, опубликованной в декабрьском номере журнала сюрреалистов View за 1941 год, художник и кинолюбитель Джозеф Корнелл назвал Хеди «очарованной странницей», персонажем‑анахронизмом, который изъясняется «на выразительном и поэтичном языке немого кино» посреди «пустого шума» кино звукового.
Неземная красота Ламарр кажется тем загадочнее, что эта маска скрывала сложную духовную жизнь. В то время как она строила свою судьбу (и на экране, и вне экрана) в голливудском мире грез, многие ее родственники и друзья детства сгинули во время Холокоста — правда, Ламарр удалось перевезти в Америку мать. Хеди продавала облигации военного займа, танцевала с солдатами в «Голливудской столовой» , активно поддерживала борьбу США с нацистами (Ламарр вдобавок разделяла политические взгляды Прогрессивной партии, была сторонницей Генри Уоллеса ). Но что она чувствовала оттого, что ей посчастливилось не погибнуть в Холокост, неизвестно. Дети ее выросли и, как вспоминает в «Бомбе» Дениз Лодер Колтон, дочь Хеди Ламарр, изумились, узнав (причем не от матери), что она еврейка.
Но даже если Ламарр не говорила о своем происхождении, ее все же тянуло к голливудским венским евреям: они, несомненно, помнили, откуда она родом, и понимали ее душевные метания. Она была близка с агентом по актерам Полом Конером , крутила роман с Отто Премингером , встречалась с Билли Уайлдером и совместно с Эдгаром Г. Ульмером выпустила картину с метким названием «Странная женщина» (1946), в которой не только сыграла главную роль, но и отважилась выступить в качестве продюсера. Правда, пятеро ее американских мужей (последний — адвокат, который вел ее бракоразводный процесс), были, цитируя Германа Вука , «неевреями до мозга костей».
Ламарр можно сравнить с многоступенчатой ракетой: взмыв в стратосферу, она последовательно избавляется от обременений — своего еврейства, первых мужей, приемного ребенка. И от карьеры непризнанного изобретателя. И даже без этого багажа в 1950‑х она от кинозвезды опустилась до гостьи телешоу, чуть более достойной версии ее современницы, а порой и соперницы Жа Жа Габор (та тоже родилась на обломках Австро‑Венгерской империи и скрывала свое еврейство). В «Бомбе» Энтони Лодер, сын Ламарр, признается в интервью, что его мать попала в зависимость от Макса Якобсона, немца по рождению, Доктора филгуда , снабжавшего метамфетамином весь голливудский бомонд. Еще она пристрастилась к пластическим операциям — и благодаря своей изобретательской жилке придумывала, как их улучшить.
Падение звезды в бездну поп‑культуры было отмечено сенсационной автобиографией «Экстаз и я» авторства двух наемных писак, опубликованной в 1966‑м, — в том же году, когда Хеди Ламарр поймали на магазинной краже и затем спародировали в андеграундном фильме Энди Уорхола: Хеди сыграл Марио Монтес , известный актер‑трансвестит «Фабрики» . С тех пор Ламарр вела уединенную жизнь и общалась с миром преимущественно по телефону.
«Бомба» не скупится на образы юной прекрасной Хеди. Но чарует и ее голос, который в 1990 году записал журналист и поэт Флеминг Микс, узнавший о ее изобретениях военных лет. Скрытая от любопытных глаз, актриса (ей 76 лет) в телефонном интервью Миксу для журнала Forbes — статья вышла под заголовком «По‑моему, они просто‑таки вмиг забывают о тебе» — лучится очарованием, теплом и даже в некотором роде весельем.
Шутливое кокетство Ламарр, ее печальный серебристый смех и певучий голос — такое же воплощение Вены, как Sahertorte mit sahne , и чувствуется, что Хеди тоскует по исчезнувшей довоенной Вене своих юных лет. Во многом благодаря записям Микса в «Бомбе» личность Ламарр выражена лучше, чем где бы то ни было.
Оригинальная публикация: Actress Hedy Lamarr, the Real‑Life Jewish Wonder Woman Whose Inventions Led to WiFi and GPS
Голливудский балаган
Старые девы против нацистов
